Способы замены сайлентблоков балки
Конструкция неразрезной балки в подвеске автомобиля крайне проста и надежна. Замена сайлентблоков балки может быть выполнена своими руками. Рассмотрим самые эффективные способы выпрессовки и запрессовки новых резинометаллических изделий.
Содержание статьи:
Повод для замены
На фото показано примерное состояние сайлентблока, который нуждается в замене. Характерные признаки износа:
- глубокие трещины;отслоения резины от внутренней либо внешней обоймы.

К симптомам поломки, проявляющимся при эксплуатации автомобиля, можно причислить появление стуков, ударов при проезде неровностей, стыков асфальта. Методы диагностики:
- визуальный осмотр на предмет описанных выше дефектов;заложить между кронштейном крепления балки к кузову и сайлентблоком рычаг, который позволит отвести сайлентблок в разные стороны. При сильном надрыве, отслоении будет заметен большой люфт места запрессовки сайлентблока относительно кронштейна крепления (подробней о диагностики ходовой части автомобиля).
Особенности конструкции

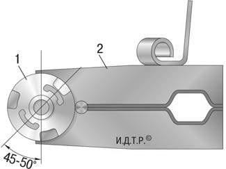
Ориентация сайлентблока задней балки Daewoo Lanos
Принципиальной разницы в сайлентблоках задней балки разных моделей автомобилей нет. Отличительной чертой той либо иной модели может быть лишь требование к положению сайлентблока относительно балки. На фото можно увидеть буферный элемент от Audi 80. Рекомендуется запрессовывать деталь в балку таким образом, чтобы ось прорезей располагались горизонтально по отношению к кузову транспортного средства.

Это не относится к деталям, у которых буфер цельнорезиновый, а корпус сайлентблока не имеет характерных выступов под крепления к кронштейну. Установить их можно в любом направлении. Но в любом случае следует следить за глубиной запрессовки. Большинство изделий запрессовываются заподлицо, но в некоторых вариантах конструкции сайлентблоки будут больше торчать в определенную сторону (к примеру, на Renault Trafic). Поэтому еще в процессе разборки следует замерить расположение детали. Если буфер не цельнорезиновый, при разборке нанесите краской либо нацарапайте пометку на корпусе сайлентблока и на посадочном месте балки. Это позволит вам при сборке установить сайлентблок точно так же, как это было сделано заводом изготовителем (при условии, что изделия не менялись до вас и были установлены правильно).
Инструмент и методы выпрессовки
На заводе сайлентблок запрессовывается в посадочное место балки и держится там исключительно на силе трения. Поэтому просто выбить и достать его у вас не получится. Правильней всего будет выпрессовать и запрессовать деталь специальным съемником. За неимением такового можно прибегнуть к высверливанию резинового демпфера, что ослабит немного натяг, и к разрезанию внешней обоймы ручной ножовкой по металлу. В сети Интернет вы можете найти способы, при которых внешнею обойму подгибают зубилом либо забивают под нее отвертку, а потом выбивают сайлент из посадочного места. Пользоваться такими варварскими методами мы не рекомендуем, так как существует риск повредить посадочное место в балке.

Конструкция съемника представляется собой сборный механизм из оправок, шпильки и двух гаек. Внешний диаметр одной оправки, для которой лучше всего подойдет толстая шайба, должен совпадать (желательно быть даже немного меньше) с диаметром внешней металлической обоймы сайлентблока со стороны выпрессовки. Вторая наставка будет служить упором и полостью, в которую сайлент будет заходить при выпрессовке. Ее диаметр должен быть больше внутреннего диаметра посадочного места в балке. В качестве оправок можно использовать большие шайбы, обоймы с подшипников, куски труб подходящего диаметра. В продаже существуют универсальные комплекты съемников ступичных подшипников, которые могут подойти для ремонта задней балки.
Какие еще инструменты потребуются, кроме съемника? Нужны накидные ключи, головки для откручивания кронштейнов крепления балки, самого сайлентблока. При полном снятии задней балки нужно будет открутить нижнее крепление амортизатора и тормозной шланг, также потребуются ключи для прокачки тормозной системы. Выполнять работы удобней всего со смотровой ямы.
Разборка
На примере Opel Zafia B будет описан метод замены сайлентблоков задней балки без полного снятия балки.
- Ослабьте гайку крепления сайлентблока к кронштейну.Открутите гайки крепления кронштейна к кузову автомобиля.Вытащите болт крепления и сам сайлент. Не забудьте пометить, как располагался сайлентблок относительно кронштейна! Операции №1-3 следует проделать и со второй стороной.Поднимите заднюю часть автомобиля домкратом и зафиксируйте на упорах. Балка должна немного опуститься, после чего у вас появится простор для выпрессовки.

Соберите съемник таким образом, как это показано на фото и видео. Суть выпрессовки в том, чтобы удерживанием болта с одной стороны и закручиванием гайки со второй стороны создать необходимое усилие для выхода сайлентблока из посадочного места. На видео мастер засверливает внешнюю обойму резинового демпфера, ослабляя тем самым внутреннее натяжение. Но обратите внимание, что внешняя обойма имеет утолщение, позволяющее аккуратно просверлить отверстие. В случае с большинством изделий у вас подобный трюк не получится.
Запрессовка и сборка
Тщательно очистите посадочное место в балке. Лучше всего применить металлический ершик для дрели, но подойдет и обычная щетка с металлическими волокнами. Перед запрессовкой обильно смажьте посадочное место моторным маслом либо другой консистентной смазкой. Поскольку резиновый демпфер находится в металлической оправке, то технические жидкости не причинят ему вреда и никак не повлияют на ресурс. Со стороны запрессовки рекомендуем снять небольшую фаску на внешней обойме – так деталь лучше зайдет в посадочное отверстие.
Для запрессовки подойдет все тот же съемник. В качестве оправки для запрессовки можно использовать обойму из-под старого сайлентблока. Если у вас нет подходящих оправок, то в качестве упора можно вырезать квадрат толщиной 3-4 мм. В таком случае в конце запрессовки резиновый демпфер упрется в упорную пластину. Чтобы запрессовать деталь заподлицо, под пластину нужно будет что-то подложить.

Обязательно следите за тем, чтобы сайлентблок заходил без перекосов!
При необходимости соосность можно поправить, аккуратно ударяя по оправке с выступающей стороны молотком.
При установке кронштейна для поднятия и направления балки нужно будет направить балку в посадочное место вручную либо с использованием домкрата. Возможно, достаточно будет опустить кузов. В любом случае ориентироваться нужно по месту и сложившейся ситуации. Изначально все болты и гайки необходимо только наживить, затем закрутить болты крепления кронштейна. После чего можно опустить автомобиль на колеса и зажать болт крепления сайлентблока. Болт должен закручиваться, только когда автомобиль стоит под собственным весом на земле – это очень важно!
Замена сайлентблоков с полным снятием балки
Ниже на видео вы можете увидеть процесс замены сайлентблоков с полным снятием задней балки. Неудобство такого метода в том, что нужно отсоединять тормозной шланг, так как его длины не хватит для полного опускания балки. Разумеется, после замены необходимо будет заново залить тормозную жидкость и прокачать тормоза, что в одиночку сделать довольно сложно.
