Toyota разрабатывает новый двигатель твин-турбо V8

Японский автопроизводитель запатентовал новый V8 с двойным турбонаддувом.

Согласно данным Motor Authority, компания Toyota подала заявку на регистрацию нового силового агрегата в соответствующее ведомство США ещё в сентябре прошлого года. Данный силовой агрегат может устанавливаться на заряженные версии внедорожников Toyota и спорткаров Lexus.
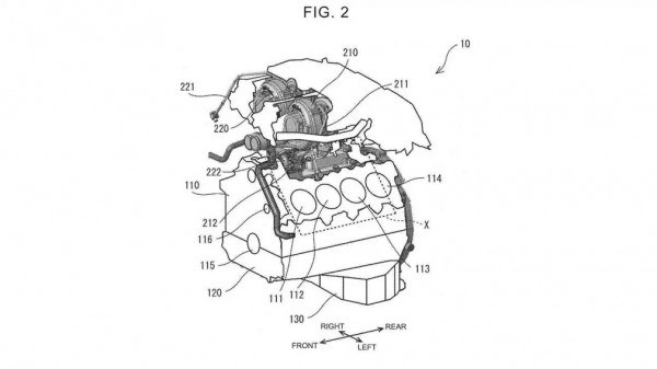
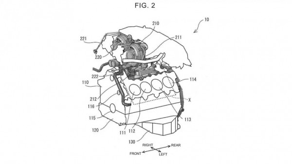
В описании патентной заявки указано, что новый V8 имеет двойной турбонаддув с компрессорами, расположенными в развале блока цилиндров. Ожидается, что данный 4,0-литровый агрегат будет выдавать до 600 л.с.

Специалисты считают, что мотор в первую очередь готовят для премиальных моделей Lexus — тех заряженных версий, которые обозначаются литерой F. Если данное предположение окажется верным, то мотор может появиться под капотами седанов IS и LS, кроме того, компания может реанимировать проект особо мощной модификации купе LC.
Существует вероятность того, что новый двигатель будет устанавливаться на автомобили Toyota. Специалисты зарубежного издания считают, что первой моделью японской марки, которая получит новый двигатель станет заряженная модификация пикапа Tundra, призванная конкурировать на североамериканском рынке с Ford F-150 Raptor и Ram 1500 TRX.

Напомним, ранее сообщалось о том, что марка может создать заряженную версию внедорожника Land Cruiser нового поколения, которая войдет в линейку подразделения Gazoo Racing. Ожидается, что дебют нового V8 с двойным турбонаддувом состоится через два года вместе с обновлением купе Lexus LC.
