Mazda запатентовала авто с вертолётной площадкой для дрона

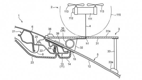
Mazda запатентовала взлётно-посадочную площадку для дрона, которая будет устанавливаться на заднее стекло и выступать своеобразным портом, обеспечивающим связь квадрокоптера с электрическим авто.

Так, благодаря этой площадке квадрокоптер сможет оперативно соединяться с электронными системами транспортного средства, с помощью которых можно дистанционно управлять им, не выходя из авто.
Квадрокоптер сможет самостоятельно взлетать и приземляться даже во время движения машины, а также исключит возможность ошибочных приземлений на другие транспортные средства.

Компания Mazda пока никак не комментировала свой патент. Не исключено, что данная площадка станет опцией, которую можно будет приобрести для топовых комплектаций некоторых моделей.
Ранее портал tarantas.news сообщал, что Mazda представила обновленную версию родстера MX-5 2022 года. Модель получила более современную технологию стабилизации KPC (Kinematic Posture Control), которая обеспечивает стабильное положение кузова машины и повышенную курсовую устойчивость в поворотах.
